

概述
YMJ型椰肉研磨機,是根據椰肉所持有的特點,研製的一種專用磨碎機,適用於椰子汁加工工藝中椰肉的粉碎;該機與椰肉接觸部分全部由304不鏽鋼製作,符合食品衛生。
產品型號
結構特征與工作原理
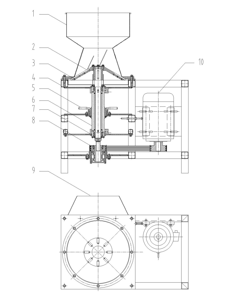
4.1結構:參照圖4-1椰肉磨漿機結構原理圖,該機主要由機架、進出料鬥、齒刀、刀盤、軸承機構、傳動機構、電機等組成。
4.2工作原理:工作時電機經一對V帶輪、通過軸承架、軸承機構高速驅動刀盤高速旋轉,刀盤上裝有若幹把齒刀片,齒刀由耐磨高硬度合金製造。椰肉自由落入進料鬥,被高速旋轉的齒刀磨碎,磨碎後的物料由刀盤和刀盤蓋之間的間隙落入出料鬥。實現磨碎功能。整體轉子總成製作有升降調節機構,可以調整刀盤與刀盤蓋之間的間隙,從而調整椰肉的磨細粒度。
圖4-2,椰肉研磨機結構原理圖
1、進料鬥;2、齒刀片;3、刀盤;4、機架;5、轉子升降機構;6、軸承架;7、軸承;8、皮帶傳動機構;9、出料鬥;10、電機
安裝、調整、操作與維護
4.1 機器必須安裝水平,並用地腳螺釘固定。
4.2操作:當設備啟動時,應調整好齒盤和齒刀蓋之間的間隙。
4.3進料必須均勻,嚴禁硬質異物進入料鬥,以免損壞篩網。
4.4維護: 班中停車或換季閑置時,應對設備進行清洗,保持內外潔淨;
4.5定期對各潤滑點加潤滑油、脂。
|
設備型號 |
產量 |
功率 |
外形尺寸 |
|
YMJ-1 |
1T |
4KW |
900×600×1200 |
|
TMJ-1.5 |
1.5T |
7.5KW |
|